管道電伴(ban)熱控制監(jian)測系(xi)統(tong)將廣(guang)泛應用在消防管道、泵體(ti)、閥門(men)、槽(cao)池及罐體(ti)容器的(de)伴(ban)熱、防凍和防凝等電伴(ban)熱系(xi)統(tong)中。另外在交通、石油、化工、電力、醫藥、機械(xie)、食品、船舶(bo)等領域中,都(dou)可(ke)(ke)發揮巨(ju)大的(de)作用。可(ke)(ke)與現在的(de)電伴(ban)熱系(xi)統(tong)實現了真(zhen)正(zheng)的(de)智能(neng)調(diao)控。 真(zhen)正(zheng)做到了安全(quan)、節能(neng)、可(ke)(ke)靠等無人值(zhi)守(shou)。
在(zai)(zai)原(yuan)先溫(wen)(wen)控(kong)(kong)智(zhi)能化的(de)配(pei)電箱內部增加了智(zhi)能溫(wen)(wen)控(kong)(kong)儀(yi),是采(cai)用微電腦控(kong)(kong)制(zhi)(zhi)與(yu)熱(re)電阻(zu)配(pei)套(tao)使用的(de)新型溫(wen)(wen)控(kong)(kong)儀(yi),多種(zhong)參數可在(zai)(zai)面板鍵入,可實(shi)現位式(shi)控(kong)(kong)制(zhi)(zhi)、PID控(kong)(kong)制(zhi)(zhi)等多種(zhong)控(kong)(kong)制(zhi)(zhi)規律,特(te)別是采(cai)用了zj****自整(zheng)定式(shi)控(kong)(kong)制(zhi)(zhi)方法,可在(zai)(zai)線(xian)對控(kong)(kong)制(zhi)(zhi)參數進(jin)行zj****自整(zheng)定,控(kong)(kong)溫(wen)(wen)精度(du)(du)高(gao),適用范圍廣,可用于我們(men)公(gong)司(si)生產的(de)各種(zhong)電伴熱(re)需自動控(kong)(kong)制(zhi)(zhi)溫(wen)(wen)度(du)(du)的(de)場合,相關就技術指標要求(qiu)如(ru)下
技術指標(biao):
配(pei)(pei)用傳感(gan)器分(fen)度號(hao)及zui大測量范圍:P t100 (-200~+600)℃、測量誤差:±1.0 % F·S±1b二檔(dang) ;配(pei)(pei)熱(re)電偶(ou)附(fu)加冷(leng)端補(bu)償誤差:≤±2℃
輸(shu)出類型:觸點(dian)開(kai)關(guan)式,電(dian)平式(控制(zhi)固態繼電(dian)器,可控硅),無觸點(dian)開(kai)關(guan)式,
定時功能:0~9999分鐘(可選有或無)
通(tong)訊(xun)功能:RS485通(tong)訊(xun)(可選有或(huo)無)
工作電源:(187~242)VAC/(50±2)Hz,功耗<5W
工作環境:溫度(0~50)℃,相對濕度≤85%RH,無腐(fu)蝕性及無強電磁(ci)場輻(fu)射(she)場合,如果有就做成防(fang)爆型電箱。
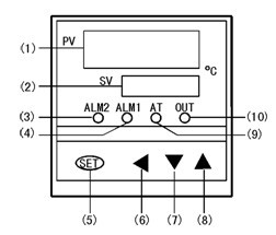
溫控(kong)面板說(shuo)明:

(1)測量值顯示窗 (6)移(yi)位(wei)鍵(jian)(啟動/停止鍵(jian))
(2)設定值(zhi)顯示窗 (7)減數鍵
(3)報警2指示燈(deng) (8)加數鍵(jian)(自整定鍵(jian))
(4)報(bao)警1指示燈(deng) (9)自整(zheng)定指示燈(deng)
(5)設定鍵(jian) (10)主控輸出指示燈
技術要求:
1.電伴熱材料的應用須***符合電氣規范要求
2.電伴熱防凍智能防凍控制技術要符合熱工設計
3.電伴熱控制和配電須有:溫度調節、漏電保護、接地保護、過流過壓保護
4.確保電伴熱冬季處于運行待命狀態、運行結束后確保系統運行關閉


